In September 2025, TikTok hosted its flagship student hackathon, TikTok TechJam 2025, in Singapore!
Under the theme Build With Joy, Code For Change, the hackathon invited university students to come together to unleash their creativity, showcase their coding skills, and solve real-world problems that drive innovation.
Participants also engaged in virtual workshops and a 72-hour coding challenge across multiple technical tracks, gaining hands-on experience with TikTok's technologies.
The program attracted over 2,000 student applications and 308 project submissions, with 12 teams comprising 49 students shortlisted for the final round to compete and address real-world challenges through creativity and innovation.
About the challenge
Teams of up to five members could choose from seven problem statements:
- Filtering the Noise: ML for Trustworthy Location Reviews – Leverage Machine Learning and Natural Language Processing to automatically assess the quality and relevancy of online location reviews
- Harnessing MLLM for Next-Generation UI Automation Testing – Improve automation of UI testing using LLMs/MLLMs for consistency, exception detection, and efficiency.
- From Guesswork to Governance: Automating Geo-Regulation with LLM – Build a prototype system that utilizes LLM capabilities to flag features that require geo-specific compliance logic.
- Building UI for the AI Era with Lynx – Use Lynx to build products or prototypes that explore how AI is reshaping UI, UX and app experiences.
- Visualizing Architecture with Knit – Develop visual tools to clearly visualize and analyze TikTok's open-source dependency injection framework.
- Value-Sharing Reimagined – Design a new value-sharing solution that establishes a transparent and legitimate flow of value from consumers to creators.
- Privacy Meets AI: Building a Safer Digital Future – Build solutions that enhance the privacy and security of AI systems or leverage AI to protect users against risks.
Problem statements were released on 27 August 2025, and teams then had 72 hours to develop and submit their solutions on Devpost. Technical workshops led by engineers who designed the problem statements were also accessible to all participants, providing them with guidance to help them succeed and maximize the impact of their projects.
Judging criteria
A panel of judges spanning across our product, engineering, security, operations, and design teams evaluated submissions based on:
- Completeness & Execution: The project demonstrates a working prototype that brings the core concept to life. Key features are implemented effectively, and the solution delivers a smooth, usable experience even if it's not fully polished.
- Technical Quality: The solution reflects solid engineering practices. Code is well-structured and demonstrates thoughtful use of tools, frameworks, and technologies. Attention is paid to aspects like performance, security, and scalability where appropriate.
- Innovation & Creativity: The project stands out for its originality. It introduces a novel idea, a unique approach to solving the problem, or a fresh twist on existing solutions. Creativity is evident in both concept and execution.
- Problem Fit & Value: The solution clearly aligns with the problem statement and tackles it in a meaningful way. It offers tangible value to users or stakeholders and demonstrates a strong understanding of the core challenge.
- Impact Potential: The project has the potential to make a significant difference. It shows promise for real-world application, with potential for scale, reach, and long-term usefulness beyond the hackathon context.
Winners and prizes
Over 2,000 student applications and 308 project submissions were received, with 12 teams comprising 49 students shortlisted for the final round. Ultimately, 5 winning projects were selected by our judges.
Congratulations to all winners! 👏
Disclaimer: By clicking the links below, you will leave TikTok and be redirected to third-party websites
Position | Prize | Team Name | Track | Project Page |
1st Place | USD 10,000 | Blueberry Jam | Privacy Meets AI: Building a Safer Digital Future | |
2nd Place | USD 5,000 | SCC | Filtering the Noise: ML for Trustworthy Location Reviews | |
3rd Place | USD 3,000 | AC Acai | From Guesswork to Governance: Automating Geo-Regulation with LLM | |
4th Place | USD 2,000 | Hokkaido Milk Bread | Privacy Meets AI: Building a Safer Digital Future | |
5th Place | USD 2,000 | Rudy's Rangers | Filtering the Noise: ML for Trustworthy Location Reviews | |
People's Choice | USD 500 | Blueberry Jam | Privacy Meets AI: Building a Safer Digital Future |
Highlights
Blueberry jam
Creators on TikTok Live often risk exposing sensitive information by accident. On TikTok Live especially, streams are fast-paced and unedited. Current privacy solutions work after the damage is done, leaving creators vulnerable in real time. Winning first place with their submission, Blueberry Jam developed a real-time, production-ready privacy filter for livestreams, protecting creators instantly across TikTok and other platforms.
Features include:
- Real-time Video PII Blur
- Face detection with whitelist support
- License plate detection (97.62% mAP50)
- Text PII detection using OCR and ML classification
- Audio PII Detection
- Fast Whisper speech-to-text processing
- Silence filtering with Silero VAD
- Fine-tuned DeBERTa (96.99% accuracy)
- Real-time mouth blur sync with audio
SCC
Our runner-up submission tackled the challenge of classifying user-generated reviews with both high accuracy and scalability. SCC developed a two-stage pipeline combining Nomic embeddings with a modified Mamba-based decoder, enabling efficient, context-aware classification of large volumes of content.
Features include:
- Efficient Two-Stage Architecture
- Combines Nomic embeddings with a Mamba-based decoder
- Modified Mamba with FiLM
- Integrates location metadata directly into the decoder
- Enhances contextual awareness for more accurate classification
- Data Generation Strategy
- Uses deterministic LLM prompts with category and entity diversification
Meet SCC!
AC Acai
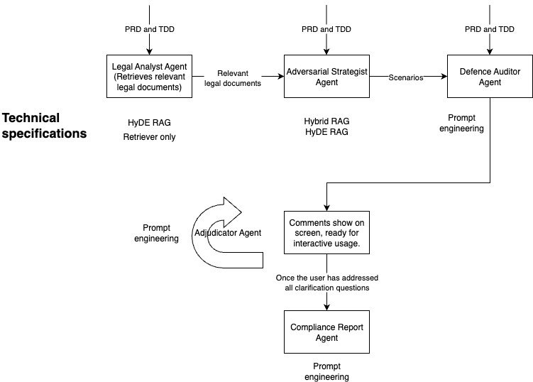
Winning third place, AC Acai developed a multi-agent AI system designed to help product teams uncover hidden geo-regulatory compliance risks. It generates adversarial threat scenarios from legal texts and analyzes internal product documents to identify vulnerabilities that manual reviews may miss.
Features include:
- Proactive Threat Generation
- AI actively tests features for compliance gaps, uncovering hidden and secondary risks.
- Interactive Human-in-the-Loop
- Pauses audits when AI finds a documentation gap to collaborate with Product Managers via a conversational interface.
- Legally-Grounded Analysis
- Final reports cite internal documents alongside relevant laws, providing evidence-based findings.
- End-to-End Governance
- Covers the full audit lifecycle, from analysis to interactive clarification to final, auditable reports.
Meet the AC Acai team
Learn more
Want to see all submissions? Check out 🔗 TikTok TechJam 2025 on Devpost!
Interested in launching your career with TikTok? Find our graduate and internship opportunities in Singapore here!
Want to stay in the loop?Subscribe to our mailing list to be the first to know about future blog posts!

